Bloc Progamme permutation imposé
Bloc Progamme permutation imposé
Bonsoir à tous,
Est-ce que l'un d'entre vous aurez déjà développé un bloc ou programme d'une permutation 3 pompes sur temps imposé?
Permutation en temps imposé:
Le temps de fonctionnement de chaque pompe est imposé. Lorsque le temps de fonctionnement maximum d’une pompe est atteint elle est arrêtée et c’est la suivante disponible qui démarre.
Merci à tous.
Est-ce que l'un d'entre vous aurez déjà développé un bloc ou programme d'une permutation 3 pompes sur temps imposé?
Permutation en temps imposé:
Le temps de fonctionnement de chaque pompe est imposé. Lorsque le temps de fonctionnement maximum d’une pompe est atteint elle est arrêtée et c’est la suivante disponible qui démarre.
Merci à tous.
Re: Bloc Progamme permutation imposé
Je suis d'accord pour le développer gratuitement pour toi.
Par contre, merci de préciser/clarifier :
1. En cas de panne sur une pompe, faut il permuter automatiquement sur la pompe suivante ?
2. En entrées tu as quoi ? BP Marche
3. En sorties, les commandes pompes c'est quoi ? C'est une commande permanente pour la marche ou un PULSE ?
Par contre, merci de préciser/clarifier :
1. En cas de panne sur une pompe, faut il permuter automatiquement sur la pompe suivante ?
2. En entrées tu as quoi ? BP Marche
3. En sorties, les commandes pompes c'est quoi ? C'est une commande permanente pour la marche ou un PULSE ?
- itasoft
- Mi homme - Mi automate

- Messages : 7806
- Enregistré le : 20 oct. 2015, 10:15
- Localisation : Lyon
- Contact :
Re: Bloc Progamme permutation imposé
slts,
C'est sur quel automate ?
ci dessous un exemple parmi d'autres en PL7-PRO
cliquer dessus pour agrandir
C'est sur quel automate ?
ci dessous un exemple parmi d'autres en PL7-PRO
cliquer dessus pour agrandir
Automaticien privé (de tout)
itasoft@free.fr
itasoft@free.fr
Re: Bloc Progamme permutation imposé
Bonjour merci deja pour vos réponses.
Le client vient de répondre. En terme d'entrée on lui a imposé les commutateurs en position Auto, les défauts et les retours de marche.
Il désire que les pompes permettent tous les 3 jours.
En cas de défaut il faudra basculer sur une des deux autres pompes.
Il ne prend pas l'option M340 il désire tout faire via le Sofrel! Mais si vous avez des exemples je le transmettrai en langage ST Sofrel
Merci.
Le client vient de répondre. En terme d'entrée on lui a imposé les commutateurs en position Auto, les défauts et les retours de marche.
Il désire que les pompes permettent tous les 3 jours.
En cas de défaut il faudra basculer sur une des deux autres pompes.
Il ne prend pas l'option M340 il désire tout faire via le Sofrel! Mais si vous avez des exemples je le transmettrai en langage ST Sofrel
Merci.
Re: Bloc Progamme permutation imposé
du Sofrel, je n'en ai jamais fait.
Vu que tu as posté le problème dans la section Schneider, je pensais que tu voulais développer sous Unity Pro.

Vu que tu as posté le problème dans la section Schneider, je pensais que tu voulais développer sous Unity Pro.
Re: Bloc Progamme permutation imposé
À la base oui sous Unity car le devis comportait un M340 et le client préfère le faire avec Sofrel.
Apres si vous avez un bloc Unity il suffira de le reproduire sous Softools qui est différent
Apres si vous avez un bloc Unity il suffira de le reproduire sous Softools qui est différent
- itasoft
- Mi homme - Mi automate

- Messages : 7806
- Enregistré le : 20 oct. 2015, 10:15
- Localisation : Lyon
- Contact :
Re: Bloc Progamme permutation imposé
slts,
ça doit permuter tous les 3 jours calendaires ou après un certain nombre d'heures de fonctionnement ?
ça doit permuter tous les 3 jours calendaires ou après un certain nombre d'heures de fonctionnement ?
Automaticien privé (de tout)
itasoft@free.fr
itasoft@free.fr
Re: Bloc Progamme permutation imposé
Préférence sur heure de fonctionnement
- itasoft
- Mi homme - Mi automate

- Messages : 7806
- Enregistré le : 20 oct. 2015, 10:15
- Localisation : Lyon
- Contact :
Re: Bloc Progamme permutation imposé
slts,
ça veut dire après 3 jours de fonctionnement c'est à dire après 72 heures de fonctionnement ???
ça veut dire après 3 jours de fonctionnement c'est à dire après 72 heures de fonctionnement ???
Automaticien privé (de tout)
itasoft@free.fr
itasoft@free.fr
Re: Bloc Progamme permutation imposé
J'ai essayé de travailler sur le sujet.
Pour des besoins de simulation j'ai utilisé des tempos de 10s (je ne voulais pas rester devant mon PC et attendre 72h
)
Je suppose que si tu as des limitations pour le temps maxi de tempo tu sais comment te débrouiller pour créer des tempos avec des temps plus importants (encore que je ne sais même plus quelle est la valeur maximale de Preset Time qu'on peut mettre sur une Tempo TON de Unity Pro).
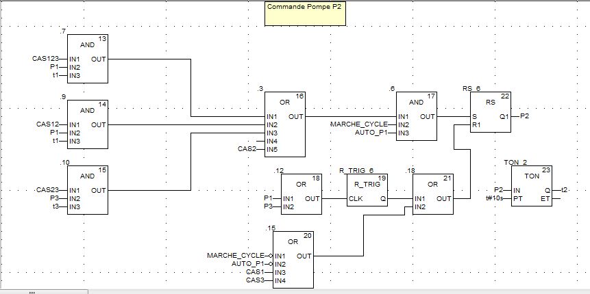
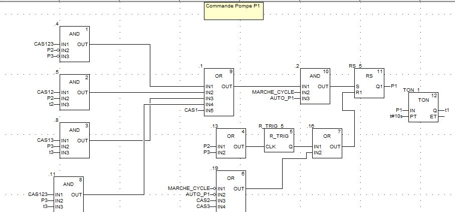
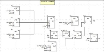
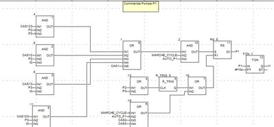
Pour les variables, AUTO_Px pour les commutateurs AUTO des pompes (X =1, 2 ou 3) je suppose que 1 c'est quand le commutateur est en AUTO, Defaut_Px pour les défauts, je suppose que le contact Défaut est à zéro en cas de défaut, ETATMARCHEPx c'est le retour d'état du contacteur (dans ns le programme ci-dessous pour des besoins de simulation j'ai utilisé les sorties de commande des pompes pour les timers mais en lieu et place il faut les remplacer par les retours d'état.)
Pour le programme, j'utilise 3 sections :
- la première section DISPO en ST (c'est plus facile le texte
) me permet de déterminer dans quel cas je me trouve selon les pompes qui sont en défaut ou pas. C'est un calcul bestial sur mot par exemple :
Si DéfautPompe1 = 1 ET DéfautPompe 2 = 1 ET DéfautPompe 3 = 1 alors DISPO = 123 (Cas idéal, toutes les pompes sont en service)
Si DéfautPompe1 = 0 ET DéfautPompe 2 = 1 ET DéfautPompe 3 = 1 alors DISPO = 23 (2 pompes slt en service).
Ensuite je recopie dans des variables booléenes par exemples la première condition ci-dessus c'est CAS123, la seconde c'est CAS23
- La 2nde section en FBD c'est la gestion de chaque pompe.
Sur le simulateur Unity Pro, ça fonctionne sur mon PC. Je n'ai pas voulu encapsuler la commande des pompes dans un gros bloc FBD ce qui reste tout de même faisable.
- La 3ème section CAS (en LD c'est fou de bosser sur un soft avec autant de langages) c'est le calcul des bits CAS123, CAS12, CAS23, etc en fonction de la disponibilité des pompes.
Voici le captures d'écran du code.
Bon courage sur le SOFREL (n'oublie pas de poster aussi le code du SOFREL, j'aimerais voir à quoi ça ressemble).
Pour des besoins de simulation j'ai utilisé des tempos de 10s (je ne voulais pas rester devant mon PC et attendre 72h
Je suppose que si tu as des limitations pour le temps maxi de tempo tu sais comment te débrouiller pour créer des tempos avec des temps plus importants (encore que je ne sais même plus quelle est la valeur maximale de Preset Time qu'on peut mettre sur une Tempo TON de Unity Pro).
Pour les variables, AUTO_Px pour les commutateurs AUTO des pompes (X =1, 2 ou 3) je suppose que 1 c'est quand le commutateur est en AUTO, Defaut_Px pour les défauts, je suppose que le contact Défaut est à zéro en cas de défaut, ETATMARCHEPx c'est le retour d'état du contacteur (dans ns le programme ci-dessous pour des besoins de simulation j'ai utilisé les sorties de commande des pompes pour les timers mais en lieu et place il faut les remplacer par les retours d'état.)
Pour le programme, j'utilise 3 sections :
- la première section DISPO en ST (c'est plus facile le texte
Si DéfautPompe1 = 1 ET DéfautPompe 2 = 1 ET DéfautPompe 3 = 1 alors DISPO = 123 (Cas idéal, toutes les pompes sont en service)
Si DéfautPompe1 = 0 ET DéfautPompe 2 = 1 ET DéfautPompe 3 = 1 alors DISPO = 23 (2 pompes slt en service).
Ensuite je recopie dans des variables booléenes par exemples la première condition ci-dessus c'est CAS123, la seconde c'est CAS23
- La 2nde section en FBD c'est la gestion de chaque pompe.
Sur le simulateur Unity Pro, ça fonctionne sur mon PC. Je n'ai pas voulu encapsuler la commande des pompes dans un gros bloc FBD ce qui reste tout de même faisable.
- La 3ème section CAS (en LD c'est fou de bosser sur un soft avec autant de langages) c'est le calcul des bits CAS123, CAS12, CAS23, etc en fonction de la disponibilité des pompes.
Voici le captures d'écran du code.
Bon courage sur le SOFREL (n'oublie pas de poster aussi le code du SOFREL, j'aimerais voir à quoi ça ressemble).
