Fonctions manquantes sur Unity
- itasoft
- Mi homme - Mi automate

- Messages : 7806
- Enregistré le : 20 oct. 2015, 10:15
- Localisation : Lyon
- Contact :
Fonctions manquantes sur Unity
Slts
Comme je n’ai pas trouvés ces fonctions sur Unity (ou j’ai mal cherché)
je me les suis paluchés à la mano , je les met ci dessous , Une fois bien lavés ça peut resservir.
cliquer dessus pour agrandir
Comme je n’ai pas trouvés ces fonctions sur Unity (ou j’ai mal cherché)
je me les suis paluchés à la mano , je les met ci dessous , Une fois bien lavés ça peut resservir.
cliquer dessus pour agrandir
Automaticien privé (de tout)
itasoft@free.fr
itasoft@free.fr
- itasoft
- Mi homme - Mi automate

- Messages : 7806
- Enregistré le : 20 oct. 2015, 10:15
- Localisation : Lyon
- Contact :
Re: Fonctions manquantes sur Unity
Modifié en dernier par itasoft le 06 juin 2018, 22:44, modifié 1 fois.
Automaticien privé (de tout)
itasoft@free.fr
itasoft@free.fr
- itasoft
- Mi homme - Mi automate

- Messages : 7806
- Enregistré le : 20 oct. 2015, 10:15
- Localisation : Lyon
- Contact :
Re: Fonctions manquantes sur Unity
slts,
c'est par erreur
c'est par erreur
Automaticien privé (de tout)
itasoft@free.fr
itasoft@free.fr
- Béryl
- Mi homme - Mi automate

- Messages : 1956
- Enregistré le : 20 oct. 2015, 12:00
- Localisation : localhost
Re: Fonctions manquantes sur Unity
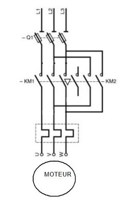
Eventuellement un freinage par coupure de phase.
J'ai ça sur un de mes palettiseurs (pas câblé comme ça , mais c'est le principe).
J'ai ça sur un de mes palettiseurs (pas câblé comme ça , mais c'est le principe).
- itasoft
- Mi homme - Mi automate

- Messages : 7806
- Enregistré le : 20 oct. 2015, 10:15
- Localisation : Lyon
- Contact :
Re: Fonctions manquantes sur Unity
@beryl,
presque, c'est pour un banc de test, simuler la perte d'une patte du moteur,
presque, c'est pour un banc de test, simuler la perte d'une patte du moteur,
Automaticien privé (de tout)
itasoft@free.fr
itasoft@free.fr
- Béryl
- Mi homme - Mi automate

- Messages : 1956
- Enregistré le : 20 oct. 2015, 12:00
- Localisation : localhost
Re: Fonctions manquantes sur Unity
Ah !
Le mien est un dahlander à deux sens de marche et freinage par coupure de phase.
Quand je file le schéma à mes stagiaires pour qu'ils me l'expliquent, faut voir leur tronche
Le mien est un dahlander à deux sens de marche et freinage par coupure de phase.
Quand je file le schéma à mes stagiaires pour qu'ils me l'expliquent, faut voir leur tronche
Re: Fonctions manquantes sur Unity
Salut à tous, je connaissais le freinage à contre courant mais pas le freinage par coupure dune phase. Il y a pas un risque thermique pour le moteur d'utiliser le deuxième cas ? Car en principe on protège la marche avec un manque d'une phase.
à plus
à plus
Re: Fonctions manquantes sur Unity
Je suis d'accord avec toi. Théoriquement un moteur sous-alimenté chauffe.

